Kategóriák
-
Műanyag modellek
- Modellező kellékek
- ÚJDONSÁGOK
- Academy modellek
- Airfix modellek
-
Dragon modellek
- Eduard modellek
- Hasegawa modely
- Heller modely
-
Italeri modellek
- My First Model Kit
- Model Set
-
Model Kit
- World of Tanks
- World of Warships
- Wargames
- War Thunder
- Vintage Collection
- Supermodels
- Fast Assembly
-
Katonai repülőgépek
- Civil repülőgépek
- Helikopterek
- Katonai hajók
- Tengeralattjárók
- Truckok
- Autók
- Motorkerékpárok
- Vasút
- Katonai figurák
-
Katonai technika
-
Katonai technika - 2. világháború
- Katonai technika - 2. világháború - 1:9
- Katonai technika - 2. világháború - 1:35
- Katonai technika - 2. világháború - World of Tanks 1:35
- Katonai technika - 2. világháború - 1:48
- Katonai technika - 2. világháború - 1:56
- Katonai technika - 2. világháború - Wargames 1:56
- Katonai technika - 2. világháború - World of Tanks 1:56
- Katonai technika - 2. világháború - 1:72
- Katonai technika - Modern
-
Katonai technika - 2. világháború
- Dioráma
- Architektúra
- Leonardo Da Vinci
- Publikációk
- Meng modely
-
Revell modellek
-
Autók
- Civil repülőgépek
-
Katonai repülőgépek
- Helikopterek
- Civil hajók
- Katonai hajók
- Tengeralattjárók
- Lokomotívok
-
Katonai technika
- Munkagépek
- Anatómikus X-Ray modellek
- Build+Paint
- Build & Play
- Build 'n Race
- Dinoszauruszok
- EasyClick
- EasyKit
- Leonardo kiadás
- Figurák
- First construction
- GiftSet
- HALO
- Hot Wheels
- Micro Wings
- ModelSet
-
Plastic ModelKit
- Cyber Beasts
- Star Trek
- Star Wars
- Tiny Adventures
- The Flying Bulls
- Világűr
- Warhammer 40.000
- Engineers
- Publikációk
-
Autók
- Tamiya modellek
- Trumpeter modely
-
Zvezda modellek
- Build Up
- Snap Kit
- Model Kit
- Wargames
-
Katonai repülőgépek
-
Katonai repülőgépek - 2. világháború
- Katonai repülőgépek - 2. világháború - 1:48
- Katonai repülőgépek - 2. világháború - 1:72
- Katonai repülőgépek - 2. világháború - World War II 1:72
- Katonai repülőgépek - 2. világháború - World War II 1:100
- Katonai repülőgépek - 2. világháború - World War II 1:144
- Katonai repülőgépek - 2. világháború - World War II 1:200
- Katonai repülőgépek - Modern
-
Katonai repülőgépek - 2. világháború
- Civil repülőgépek
- Helikopterek
- Katonai hajók
- Civil hajók
- Tengeralattjárók
-
Figurák
-
Katonai technika
- Épületek
- Autók
- Publikációk
- Nem besorolt
-
Modellvasút
- Startoló szettek
- Lokomotívok
- Vagonok
- Sínek
-
Tájépítés
- Fák
- Fű- és dekor szőnyegek
- Statikus fű
- Szóróanyagok
- Csomók és szalagok
- Mohák
- Virágok, bokrok és növények
- Kész vágányok
- Aljnövényzet
- Kavicsok
- Sziklák, csempék, textúrák
- Utak
- Vízterületek és vízfolyások
- Színek, ragasztók, gittek
- Eszközök tájépítéshez
- Konstrukciós anyagok
- Egyéb építőanyagok
- Kiegészítők
- Hidak és alagutak
- Figurák
- Automobilok
- Felvonók
- Épületek
- Digitális és hangok
- Osvetlenie
- Tartozékok
- Diorámák
- KATO
-
RC Repülőgépek
- Szabadrepülő modellek
- Statikus modellek
- RTF készletek
- BNF készletek
- ARF modellek
- Vitorlázó modellek
- Beltéri modellek
- Műrepülő modellek
- Gyakorló / tréner (iskolagépek)
- Katonai – a II. világháborúig
- Katonai – a II. világháborútól
- Polgári, sport
- Repülőszárnyak
- Jet modellek (EDF)
- Pylonverseny modellek
- Mikro repülők
- Papírsárkányok
- Óriás modellek 2 m felett
- Pótalkatrészek
-
RC Helikopterek
-
RC Multikopterek
-
RC autók
-
Elektro
- Belső égésű
- RoboMaster
-
Pótalkatrészek
- Amewi
- ARRMA
- ASSO
- Associated
- Axial
- Blackzon
- BM Racing
- Carrera
- Carisma
- Carson
- Carten
- CRC
- Dromida
- ECX
- FG
- FMS
- Funtek
- Graupner
- HiMoto
- Hobbytech
- HPI
- HSP
- H-Speed
- Kavan
- Killerbody
- KYOSHO
- LRP
- Maverick
- Modster
- Mugen Seiki
- Revell
- PELIKAN
- RGT
- Protech
- Pro-Line
- Robitronic
- SWORKz
- Tamiya
- TEAM CORALLY
- Team Durango
- Team Losi
- Thunder Tiger
- TURBO RACING
- Traxxas
- Vaterra
- XRAY
- Yeah Racing
- YOKOMO
- ZD Racing
-
Elektro
-
RC hajók
-
RC Egyéb modellek
-
Játékok
-
LEGO
- Powered up
- Animal Crossing
- Architecture
- ART
- Avatar
- Avengers
- Batman
- Bluey
- Botanicals
- City
- Classic
- Creator
- Disney
- Disney a Pixar Lightyear
- DOTs
- DREAMZzz
- DUPLO
- Fortnite
- Friends
- Gaby varázslatos háza
- Harry Potter
- HIDDEN SIDE
- Icons
- IDEAS
- Juniors
- Jurassic Park
- Marvel
- Minecraft
- Minyonok
- Minifigurák
- Monkie Kid
- Movies
- Ninjago
- ONE PIECE
- Overwatch
- Sonic
- Speed Champions
- Star Wars
- Szuperhősök
- Super Mario
- Technic
- Trollok
- Vidiyo
- Wednesday
- Wicked
- Special Edition
- LEGO kiegészítők
- Iskolai felszerelések
- Adventný kalendár
-
Autópályák
- Adventi kalendáriumok
- Pokémon
- Bburago pályák és garázsok
- Játékok
- Építőkészletek
- JUNIOR KIT
- Robotok
- Lábbal hajtós gyermekjárművek
- Taposó traktorok gyermekeknek
- Apróságok
- 0-3 éves gyerekeknek
-
LEGO
-
RC szettek
-
Vevők
-
Szervók
-
Fotó és Videó
-
RC szimulátorok
-
Belső égésű motorok
-
Elektromotorok
-
Elektronikus fordulatszám szabályozók
-
RC elektronika
-
Akkumulátorok
-
Akkutöltés
-
Csatlakozók és kábelek
-
Mérőkészülékek
-
Repülőgép tartozékok
-
Helikopter tartozékok
-
Autó tartozékok
-
Hajó tartozékok
-
Üzemanyagok, olajok és kenőanyagok
-
Modellező kémia
-
Építőanyagok
-
Balsa
- Standard lap 7,5x100
- Könnyű lap 7,5x100
- Standard lap 8x100
- Könnyű lap 8x100
- Standard lap 8x107
- Könnyű lap 8x107
- Standard lap 10x84
- Standard lap 10x92
- Könnyű lap 10x92
- Standard lap 10x100
- Könnyű lap 10x100
- Standard lap 10x107
- Könnyű lap 10x107
- Standard lap 12x150
- Bokkok
- Szegélylécek és élek
- Tiplifák
- 2. osztályú lap
- Rétegelt lemezek
- Bükk tiplifák
- Fa szegélylécek
- Műanyag profilok
- Carbon és üvegszál
- Alumínium és dural
- Acél
- Sárgaréz és vörösréz
- Burkolóanyagok
- Vectopor
- Ragasztószalagok
- Egyebek
-
Balsa
-
Szerszámok
-
Szállítási csomagolás
-
Propagáció
-
Rollerek és kerékpárok
-
Ajándékutalványok
-
Fém modellek
- RAMSES
- DOLLAR
- TAGANROZHETS
- VETRA
- STALINETS
- TV SERIES
- ATTICA
- DISPLAY BOX
- TOTOTA
- DRAGON WINGS
- SHELTER
- AUTOBUS
- TRAM
- LGOC
- GOMOLZIG TAIFUN
- LYSELL
- UVZ
- THUNDERBOLT
- LEA-FRANCIS
- BOAT
- SHERMAN
- MGMC
- KAMPFPANZER
- SUBMARINES
- MARSTON MAT
- PATLYAKOV
- HELICOPTER
- TUNK
- OM
- COUGAR
- DUCKHAMS
- FIELD
- ENSIGN
- MERCEDES BENZ
- HERCULES
- ŠKODA
- PIAGGIO
- TATRA
- VETRINA DISPLAY BOX
- BELL
- HUGHES
- YAKOVLEV
- LOCKHEED MARTIN
- FAIRCHILD-REPUBLIC
- ILYUSHIN
- FIGHTER
- BOEING
- TANK
- TRUCK
- WHITE STAR LINE
- NISSAN
- LAND ROVER
- TOYOTA
- CAMIVA
- WARD LA FRANCE
- IVECO FIAT
- RENAULT
- SAVIEM
- AEROSPATIALE
- ACCESSORIES
- CHEVROLET
- FORD USA
- PONTIAC
- DODGE
- FERRARI
- ASTON MARTIN
- HONDA
- LAMBORGHINI
- LOTUS
- McLAREN
- OLDSMOBILE
- PLYMOUTH
- MAN
- ALFA ROMEO
- GMC
- SUZUKI
- BENTLEY
- SIR
- LEXUS
- AUDI
- WALTER
- ZBROJOVKA
- SIOP
- MONTEVERDI
- JAMOS
- PAGANI
- ISUZU
- PORSCHE
- SCANIA
- SAURER
- PUMA
- OPEL
- IFOR
- FIGURES
- KANE
- VOLKSWAGEN
- TEMPO
- GOLIATH
- KAHLBACHER
- LINDNER
- JCB
- SCHLUETER
- MASSEY FERGUSON
- KRAMER
- FORD ENGLAND
- CASE-IH
- DEUTZ
- YAMAHA
- VICON
- KEENAN
- COOPER
- STEYR-PUCH
- BUGATTI
- KUHN
- CLAAS
- NEW HOLLAND
- JOHN DEERE
- RED BULL
- CATALOGO
- SUBARU
- MERCEDES GP
- ALPINE
- VALTRA
- FENDT
- CASE IH
- DATSUN
- TRABANT
- KARMANN
- VOLVO
- MERCURY
- LANCIA
- MASERATI
- MOLINARI
- DAVID BROWN
- BATA
- BMW
- DUESENBERG
- BUICK
- MITSUBISHI
- JAGUAR
- LOLA
- FIAT
- SIMCA
- AUTOBIANCHI
- ABARTH
- HOLDEN
- KTM
- TRAILER
- HUSQVARNA
- TALBOT
- TRAIN
- MOTORCYCLE
- JEEP
- VOISIN
- VICKERS
- MOTOZODIACO
- LEYLAND
- OSSA
- GUY
- MV AGUSTA
- TALBOT LAGO
- BRITISH AEROSPACE
- AEC
- AUTO UNION
- TRIUMPH
- HAWKER
- ROVER
- OM FIAT
- RELIANT
- SUNBEAM
- TVR
- PEUGEOT
- ALVIS
- SAAB
- PETERBILT
- INTERNATIONAL
- CATERPILLAR
- MORRIS
- CITROEN
- CHALLENGER
- JUNKERS
- COMMER
- DAIMLER
- GRUMMAN
- BOULTON PAUL
- G.ANDERSON
- 007
- JENSEN
- STAR
- SPAD
- GYROCOPTER
- WARSZAWA
- BRISTOL
- FOKKER
- EUROFIGHTER
- SUPERMARINE
- DE LOREAN
- ROLLS ROYCE
- DOUGLAS
- SHIP
- AUSTIN
- BLACKPOOL
- MINI
- ROUTEMASTER
- KENWORTH
- STAR TREK
- DINKY
- WILLEME
- PACKARD
- BEDFORD
- STUDEBAKER
- LINCOLN
- PANHARD
- BORGWARD
- BLOHM & VOSS
- SORMOVO
- HDW
- ORP
- BREMER-VULKAN
- ALLGAIER
- LANZ
- BOLINDER-MUNKTELL
- BUKH
- MG
- MAZDA
- HYUNDAI
- IZH
- EICHER
- CAMMEL LAIRD
- GULDNER
- LADA
- BUHRER
- UAZ
- LUAZ
- MOSKVITCH
- NAMI
- TYRRELL
- NOBLE
- SALEEN
- ARO
- AC
- BERLIET
- LATIL
- FORDSON
- ALTAI
- SHTZ
- KITSKASSK
- UNIVERSAL
- TRACTOR
- HANOMAG
- HTZ
- EICHER KONIGSTIGER
- FAHR
- VLADIMIRETS
- TESTI
- MOTOBECANE
- ZETTELMEYER
- CIMATTI
- BENELLI
- NEGRINI
- MALANCA
- BETA
- IFA
- GILERA
- MONTESA
- ROMEO
- DEMM
- DUCATI
- RIZZATO
- MALAGUTI
- MORINI
- MOTOM
- GARELLI
- CARNIELLI
- APRILIA
- OSCAR
- CAGIVA
- IKA
- SIAM DI TELLA
- NSU
- MOTO GUZZI
- DE CARLO
- SOMUA
- CHRYSLER
- IAME
- SEAT FIAT
- PERIPOLI
- IES
- ISARD
- IAMA
- BAMBI
- HELMET
- PEGASO
- BROSSEL
- VARELA
- BUSSING
- BARREIROS
- DKW
- RURAL
- FOTON
- SCHNEIDER
- FACEL VEGA
- CHAUSSON
- BAR
- WILLIAMS
- MARCH
- HESKETH
- AMC
- TOLEMAN
- DE TOMASO
- BRABHAM
- SURTEES
- ARROWS
- MARTINI
- VANWALL
- ACMAT
- SHADOW
- ENIAK
- CADILLAC
- MATRA SIMCA
- VAILLANT
- BATMAN
- LIAZ
- EAGLE
- HELA
- MARVEL
- PRIMUS
- NORMAG
- SEAT
- MAGIRUS
- BAUTZ
- SAVA
- AVIA
- EBRO
- LIGIER
- RASTROJERO
- NOLAN
- BENETTON
- INNOCENTI
- BRM
- IME
- VIBERTI
- DACIA
- HEINKEL
- STEWART
- ROCAR
- FSO
- ZIL
- WARSHIP
- IVECO
- UNIC
- KOMATSU
- VIGILI DEL FUOCO
- EIFELLAND
- ZAZ
- TORO ROSSO
- TECNO
- PENSKE
- VIRGIN RACING
- MINARDI
- POLITOYS
- FORCE INDIA
- AGV
- OSCA
- TRIDENT
- CISITALIA
- ALLARD
- PIERCE ARROW
- DEVON
- WILLYS
- YANMAR
- DELAGE
- STUTZ
- IMPERIAL
- HARVESTER
- CHECKER
- DAF
- FREIGHTLINER
- HUMMER
- NORTH AMERICAN
- HORCH
- WESTERN STAR
- McDONNEL DOUGLAS
- GAZ
- BICICLETTA
- EMBRAER
- AERMACCHI
- CROSLEY
- MACK
- DALLARA
- KAWASAKI
- HENSCHEL
- AMERICAN LOCOMOTIVE CO.
- VTZ
- HARLEY DAVIDSON
- GENERAL ATOMICS
- VAUXHALL
- PRAGA
- LADA FIAT
- SAUBER
- RAF
- WALT DISNEY
- BUGGY
- LYKAN
- MAYERS MANX
- MOMO
- HANNA BARBERA
- CHANCE VOUGHT
- MODENA
- CHENARD & WALCKER
- JAMAIS CONTENT
- BANDAI
- DIECI
- ISOTTA FRASCHINI
- AGUSTA
- DECKER
- DEUTZ-FAHR
- BELL HELMET
- BAJA
- MBK
- WARTBURG
- BOBCAT
- ARAI HELMET
- SCHUBERTH HELMET
- TRACK - PISTA
- ROCKWELL
- CESSNA
- ACURA
- DS AUTOMOBILES
- IRISBUS
- KRUPP
- TATA
- POLESTAR
- GOGGOMOBIL
- DIAMOND
- SOLEX
- CARAVAN
- DELAMARE-DEBOUTTEVILLE
- IKARUS
- THOMAS FLYER
- LIEBHERR
- WEYCOR
- WIRTGEN
- EXTREME
- REPUBLIC AVIATION
- HAAS
- ALPHA TAURI
- SMART
- MERCEDES BWT
- ITALA
- MELKUS
- THOMAS
- FORD
- HL-PRO
- KAESER
- CESAB
- BT CARGO
- SENNEBOGEN
- DENNIS
- PACIFIC
- VOLUGRAFO
- PANTHER
- SAME
- USSV
- MORETTI
- CIZETA
- SIMSON
- SIATA
- TABLE GAME
- BARKAS
- NOVITEC
- GUMPERT
- HOTCHKISS
- ROCHET-SCHNEIDER
- FAMULUS
- GLAS
- DOPPSTADT
- HURLIMANN
- CATERHAM
- NORMA
- ZYTEK
- AC COBRA
- KOENIGSEGG
- COURAGE
- HPD
- SIGMA
- VENTURI
- LAVOCHKIN
- ORECA
- ISO RIVOLTA
- TOJ
- VOLLSTEDT
- MAHINDRA
- ERT
- SPICE
- BRUTSCH
- ZUNDER
- BAYER
- BROOK STEVENS
- AGS
- ARGO
- SIMTEK
- AURUS
- JORDAN
- MICROLINO
- RONDEAU
- KAMAZ
- CHEVRON
- MATRA
- BAGGER
- PANZER
- MAZ
- VAZ
- INTERNATIONAL HARVESTER
- SACHSENRING
- TAKARA-TOMY
- PANAVIA AIRCRAFT
- AWZ
- EMW
- HOREX
- FRAMO
- CSEPEL
- RILEY
- KMZ
- BUELL
- OLTCIT
- TOURING
- ESPOSITORE
- SCOOTER
- CHEETAH
- HINO
- GRD
- TATUUS
- SPYKER
- BABIOLE
- BIANCHI
- NUFFIELD
- PININFARINA
- MANITOU
- BAUER
- LEMKEN
- LISTER
- IMANTS
- VALMET
- WEEKS
- JOSKIN
- ENOROSSI
- ROLLAND
- BEDNARD
- VENDEUVRE
- STEYR
- HOLLAND
- KUBOTA
- PEERLESS
- PEEL
- BRAWN GP
- MIDLAND
- REO
- SPIRIT
- NEOPLAN
- SETRA
- VAN HOOL
- FORTI
- EDSEL
- NORTON
- COPERSUCAR
- BSA
- SANGLAS
- IWL
- BITTER
- KRAUSS-MAFFEI WEGMANN
- FORTSCHRITT
- AIRBUS
- SAVOIA MARCHETTI
- WHITE MOTOR COMPANY
- NAMC
- REYNARD
- AVRO
- TUPOLEV
- ZUNDAPP
- RACING BULLS
- REGGIANE
- SIKORSKY
- DASSAULT AVIATION
- TESLA
- ZAGATO
- LUFTSCHIFFBAU ZEPPELIN
- JUPITER
- VERITAS
- STAUNAU
- ESPENLAUB
- DAIHATSU
- PRINCE
- GM
- MISMARQUE
- VELAM
- MEMMINGER
- CHERBOURG
- DOME
- AMILCAR
- ADLER
- AUBURN
- TADANO
- MACCHI
- TENK
- AUTOCAR
- DAMLER
- FEDERAL
- CORD
- AUTOMOBILE
- MOONRAKER
- ISO
- DUTRA
- GORDON KEEBLE
- ALEKSEEV
- AUSTRO DAIMLER
- BIZZARRINI
- KOHLRUSS
- HUNT
- MIELE
- KRAUS
- LIGHTBUM
- FRAZER
- WENDAX
- POLSKI FIAT
- PLAXTON
- RIMAC
- CHANGE VOUGHT
- GI JOE
- ANADOL
- FAGEOL
- ANTA
- ZIS
- TRIBELHORN
- FAR
- HRT
- KIM
- LOCKHEED
- LIORE ET OLIVIER
- BERNARD
- MERZARIO
- COURNIL
- AUVERLAND
- DELAHAYE
- GALLIN
- UMM
- ARMSTRONG
- GREGOIRE
- AERO
- HOPPE & STREUR
- DENZEL
- SINGER
- BRUBAKER
- CADA
- BYD
- TIN TIN
- FRITZ FLEISCHER
- SHORT
- HUMBER
- LOHR
- LORRAINE
- JUDD
- SEAGRAVE
- ROBUR
- HISPANO SUIZA
- INVICTA
- CORVETTE
- VICTRESS
- MAVERICK
- GENERAL DYNAMICS
- HITACHI FIAT
- AGUSTA WESTLAND
- DORNIER
- LOCAL MOTORS
- RIVA
- MEYERS MANX
- DAINESE
- STILO
- STEYER
- MI-VAL
- CASE
- FARMALL
- SCHLUTER
- VEILSIDE
- GWM
- UZTM
- MESSERSCHMITT
- MAYBACH
- MIKOYAN-GUREVICH
- SUKHOI
- NAKAJIMA
- DAPT
- SUKOI
- KAELBLE
- ALEXANDER-DENNIS
- HILLMAN
- MASSERSCHMITT
- GLOSTER AIRCRAFT
- CMN
- MIRAGE
- RIAL
- EUROBRUN
- BICYCLE
- AMAZONE
- KAMOV
- BERIEV
Új termékek
KZ 784 magos kék/ezüst vegyes kábel (C-tűs)
5 690,00 Ft
KZ szonáta
76 590,00 Ft
KZ fejhallgató tok cipzárral
1 410,00 Ft
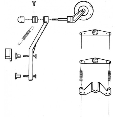
Makett farok kerék, (40-90)
PE_4SZ956
11859009564
Makett farok kerék, a 40-90 nagyságú repülőkhöz, 20,5 g.
Více informacíSzüksége van segítségre?
Szívesen segítünk a választásban.. ![]()
ING. MARTIN ZAHORAN
Termékspecialista
emailrcvilag@rcvilag.hu
Hétfő – Péntek 09:00 – 17:00
Hozzászólások (0)
Egyelőre nincs vásárlói vélemény.
A megfogalmazott véleményedet nem lehet elküldeni
Hozzászólás jelentése
Biztosan jelenteni szeretnéd ezt a hozzászólást?
Jelentés elküldve
A jelentésed beküldve, és egy moderátor megvizsgálja.
Jelentésed beküldése nem lehetséges
Írd meg véleményedet
Vélemény elküldve
A hozzászólásodat elküldtük és elérhető lesz, amint egy moderátor jóváhagyja.
Véleményed nem lehet elküldeni
Makett farok kerék, a 40-90 nagyságú repülőkhöz, 20,5 g.
INGYENES SZÁLLÍTÁS
A kiszállítás 50 000Ft-ot meghaladó rendelés esetén INGYENES
RC SZERVIZ
Biztosítjuk az RC modellek garancia utáni szervizelését.
Szívesen segítünk
Bízza profikra új modellje kiválasztását!
MÁR 20 ÉVE ÖNÖKKEL!
Nagyon értékeljük, hogy velünk tartanak.
